1. 아두이노란?
1) 오픈소스기반 마이크로 컨트롤러
2) 종류
- 우노(UNO): 8bit 마이크로 컨트롤러
- 듀(DUE): 32bit 마이크로 컨트롤러, 핀 확장성 좋음
- 트레(TRE): TI사의 32bit 비글본 블랙과 결합
- 윤(YUN): 아두이노에 와이파이 탑재
- 레오나르도: 우노의 CPU변경 버전
- 갈릴레오: 인텔과 아두이노의 합작품, 펜티엄 프로세서 탑재, 아두이노와 핀배열 동일(쉴드 이용가능)
3) 일반인들이나 예술인들이 쉽게 다룰수 있는 프로세싱 및 하드웨어
- 스크래치와 같은 프로그램과 연동(손쉽게 코딩가능)
- 오픈소스 활용이 용이함
- 쉴드(납땜을 하지 않아도 됨), 쉴드 제품
2. 아두이노 우노의 구조
1) 아두이노 우노의 하드웨어 구조
- Hardware Serial
- Hardware I2C
- Digital In/Out(2,3번은 외부 인터럽트용으로도 사용, ~표시는 PWM 출력 기능이 있음)
- Analog Input(0~5)

2) 아두이노 우노의 규격
|
Microcontroller |
ATmega328 |
|
Operating Voltage |
5V |
|
Input Voltage (recommended) |
7-12V |
|
Input Voltage (limits) |
6-20V |
|
Digital I/O Pins |
14 (of which 6 provide PWM output) |
|
Analog Input Pins |
6 |
|
DC Current per I/O Pin |
40 mA |
|
DC Current for 3.3V Pin |
50mA |
|
Flash Memory |
32KB (ATmega328) of which 0.5KB used by bootloader |
|
SRAM |
2KB (ATmega328) |
|
EEPROM |
1KB (ATmega328) |
|
Clock Speed |
16MHz |
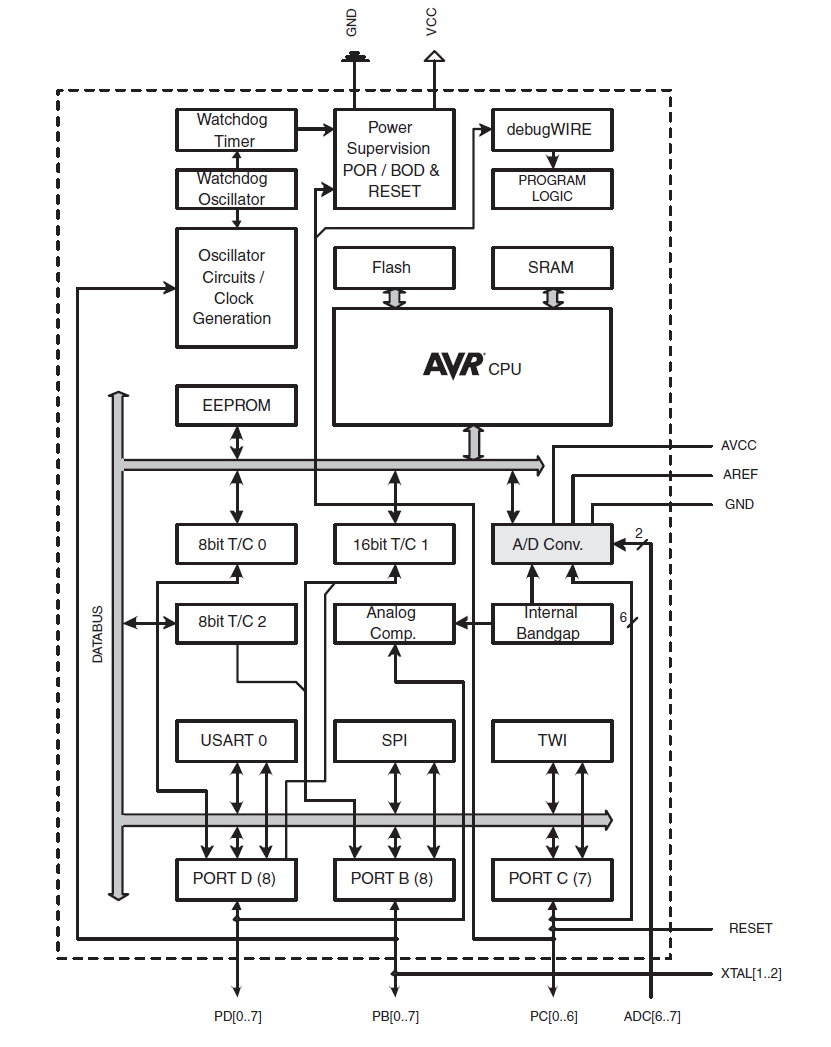
3) 아두이노 우노(ATmega328)의 블럭도

3. 프로그램 환경설정 (https://swiftcam.tistory.com/94)
- 스케치
- Visual Studio 기반 IDE
- 라이브러리 사용
4. RGB LED 및 7세그먼트 버튼제어
- 디지털 포트제어
5. 부저제어(Active, Passive)
- PWM 제어
6. LCD 모듈 제어, I2C 통신, 시리얼 통신, SPI 통신
- 통신 프로토콜
- 인터럽트 처리
7. 온도센서, 광센서, 적외선 센서
- 아날로그 신호 입력, A/D 변환
8. 스테핑모터제어, 서보모터제어
- PWM 제어, 아날로그 출력, D/A 변환
9. RTC 모듈제어, 조이스틱제어
- 디지털 신호제어
https://studymake.tistory.com/113
studymake.tistory.com
http://hansaehoon.blogspot.com/2018/03/list.html
아두이노 관련 강좌 모음 list (초보용)
공학,게임,음악에 대한 블로그
hansaehoon.blogspot.com
'엔지니어링 > 임베디드' 카테고리의 다른 글
| [아두이노 기초교육] RGB LED 제어 (0) | 2020.02.01 |
|---|---|
| [아두이노 기초교육] LED 제어 (0) | 2020.01.16 |
| 리눅스 Ubuntu 명령어 정리 (0) | 2019.11.15 |
| 리눅스에 Boost 라이브러리 설치 (0) | 2019.11.15 |
| [라즈베리파이] Ubuntu에서 크로스 컴파일 환경설정 및 예제코드작성 (0) | 2019.11.14 |
댓글